来源:周口晚报微信
2020-04-25
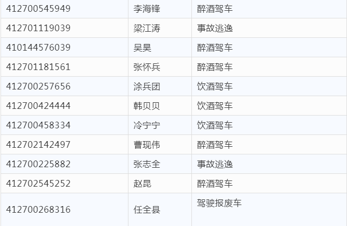
为有效地惩治严重交通违法行为,大力维护良好的道路交通秩序,确保道路交通安全畅通,周口交警不断加大对各类严重交通违法行为的查处和打击力度,依法对醉驾、再次饮酒、驾驶报废车、拼装车、涉嫌交通肇事罪等严重交通违法行为的当事人做出吊销机动车驾驶证的处罚,本月又有53人因上述违法被吊销驾驶证,具体名单附后。
周口交警提醒广大驾驶人朋友:为了您和他人的安全幸福,请自觉遵守交通法规,拒绝交通违法,摒弃交通陋习,文明参与交通。



[责任编辑:李鹤]
中华龙都网版权所有,未经授权不得转载